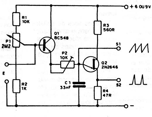
Variaciones de tensión se pueden convertir en variaciones de frecuencia de salida. P1 es el ajuste de sensibilidad y punto de funcionamiento. P2 ajusta la gama de variación de frecuencias. La frecuencia central de operación del circuito es determinada por el capacitor Ci cuyo valor puede estar entre 22nF y 1 µF. Las salidas tienen dos formas de ondas posibles, debiéndose usar un amplificador para excitar un altoparlante.




