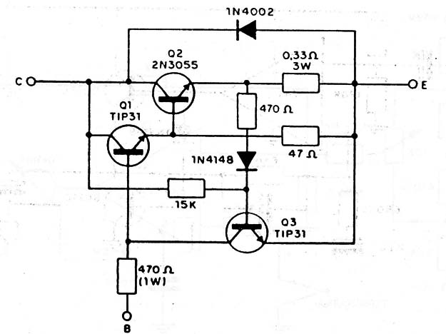
Los limites de corriente de esta configuración de potencia son dados por el resistor de 15 k que puede ser alterado, así como por el resistor de 0,33 ohm. Q1 y Q2 deben ser montados en buenos disipadores de calor. Para los valores indicados, Ia potencia máxima del circuito está alrededor de 40 W (20 V x 2 A).

Transistor de Potencia Protegido



