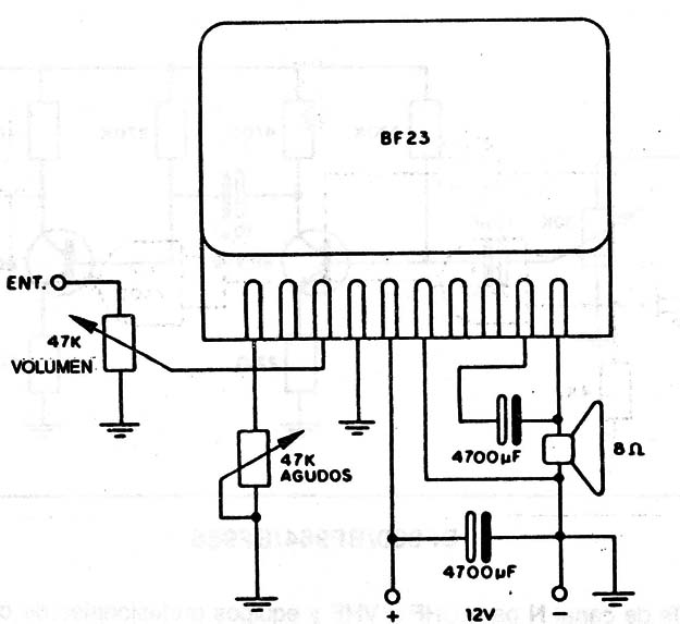
El BF23 es un módulo híbrido que se puede encontrar en algunos circuitos de casettes y autorradios. Su potencia es de 2 watt y la impedancia de entrada es superior a 250 k.

Amplificador BF23
El BF23 es un módulo híbrido que se puede encontrar en algunos circuitos de casettes y autorradios. Su potencia es de 2 watt y la impedancia de entrada es superior a 250 k.
