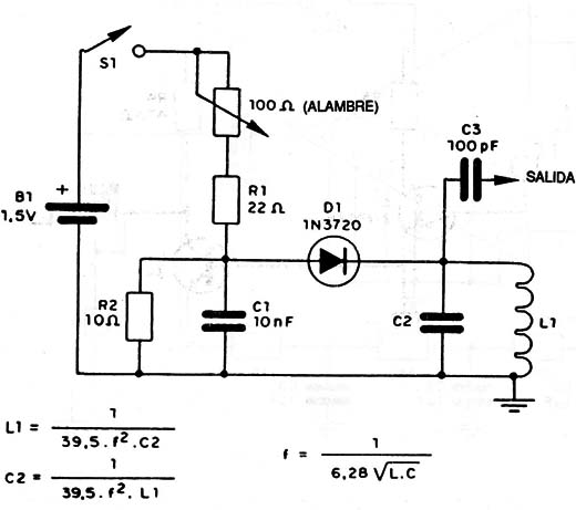
La característica de resistencia negativa del diodo túnel puede aprovecharse para producir frecuencias hasta 1,6 GHz. La bobina L1 en conjunto con C2 determina la frecuencia de operación debiendo estar de acuerdo con las fórmulas dadas. El punto de oscilación es ajustado en el potenciômetro de 100 ohm que debe ser de alambre. C2 debe ser del tipo adecuado para operación en frecuencias altas, como por ejemplo mica plateada.




