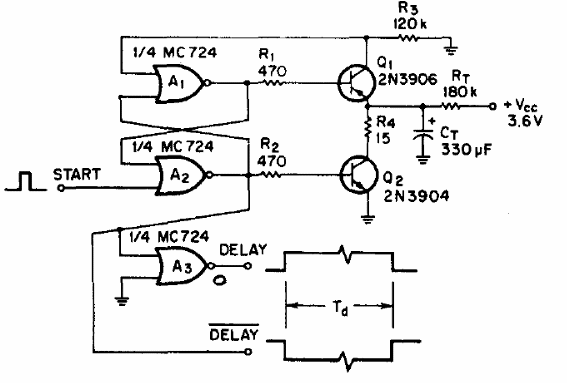
Hemos encontrado esta configuración en una antigua documentación americana de los años 70. El circuito puede utilizar transistores equivalentes como los BC548 y debe ser alimentado por tensión de 5 V. El capacitor puede ser cambiado a otros intervalos de tiempo, Equivalente lógico del MC724 debe ser usado.

Timer TTL de 1 minuto (CIR906S)
Hemos encontrado esta configuración en una antigua documentación americana de los años 70. El circuito puede utilizar transistores equivalentes como los BC548 y debe ser alimentado por tensión de 5 V. El capacitor puede ser cambiado a otros intervalos de tiempo, Equivalente lógico del MC724 debe ser usado.




