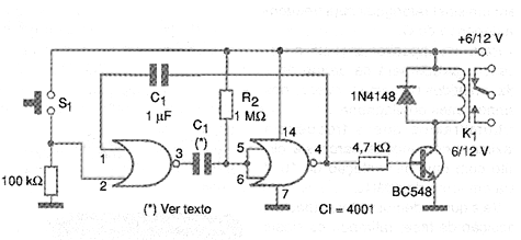
El circuito de la figura 10 utiliza dos de las cuatro puertas del 4001 para accionar un relé de forma temporizada. El intervalo de tiempo obtenido depende del capacitor C1 cuyo valor puede situarse entre 10 uF y 1 000 uF. Con 10 uF el intervalo de tiempo obtenido es del orden de 10 segundos. Los valores muy grandes de condensadores pueden hacer que el circuito sea inestable, sobre todo si presentan fugas. El relé es del tipo que tiene una corriente de bobina de un máximo de 50 mA y una tensión igual a la usada en la alimentación.




