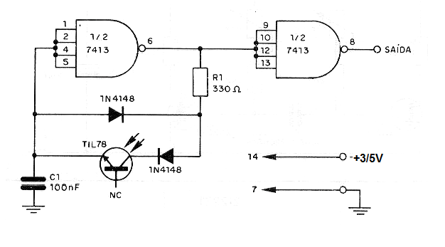
Este circuito se puede utilizar como un convertidor de intensidad de luz digital en un sistema sensor microcontrolado. La frecuencia del circuito mostrado depende de la intensidad de la luz que incide en el foto-transistor. La banda central de frecuencias, determinada por C1, con los valores de los componentes indicados está alrededor de 5 kHz. El circuito debe ser alimentado por tensión de 3 o 5 V y otros puertos NAND o inversores pueden ser utilizados como el 7400.




