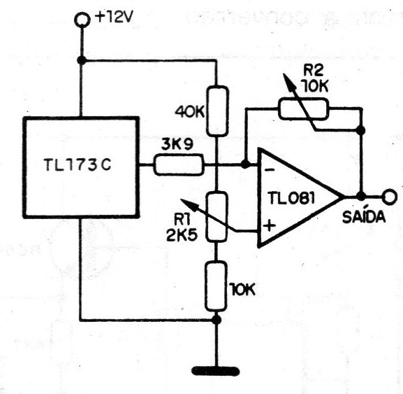
Este circuito se utiliza como sensor de campos magnéticos y se basa en un sensor de efecto HaII de Texas Instruments. El uso de un amplificador operacional permite linealizar la respuesta al campo externo y ajustar en exactamente 6 V la tensión de salida en un determinado nivel de referenciado campo magnético.




