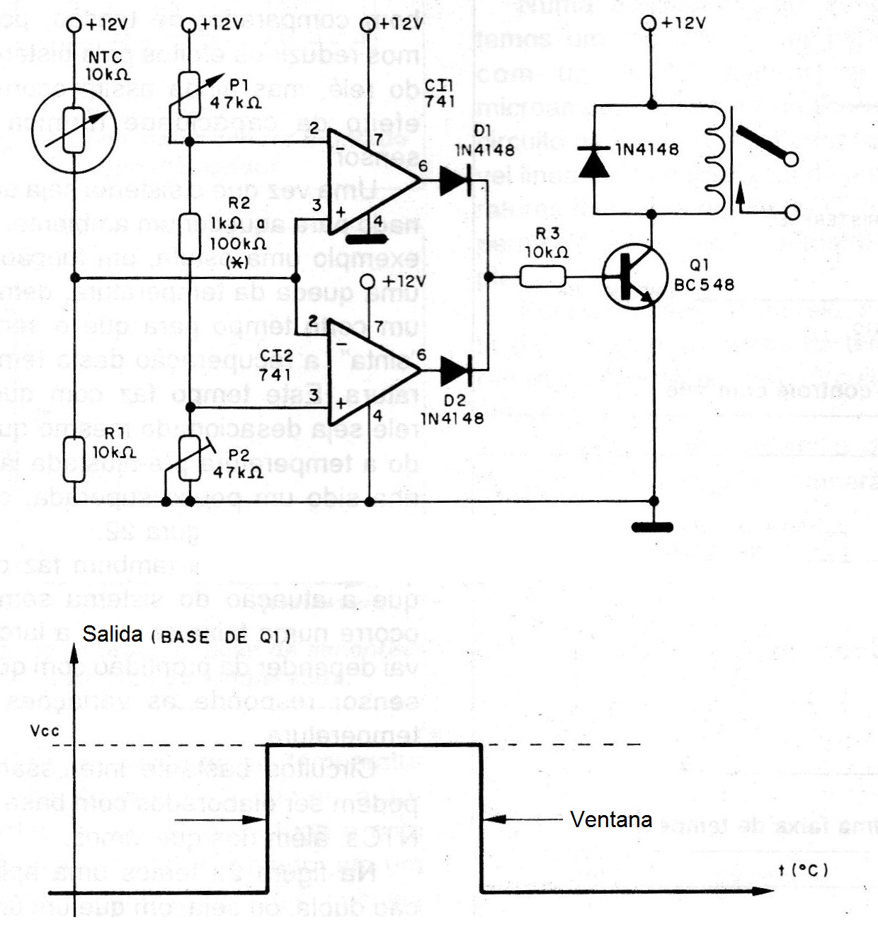
El circuito presentado utiliza un comparador de ventana para mantener un relé accionado sólo cuando el sensor se mantiene en un rango de temperaturas que puede ser ajustado en P1 y P2, El circuito integrado puede ser sustituido por otro operacional o incluso comparadores de la serie LM139. El relé es de 12 V con 50 mA de corriente de disparo. (*) Determina la ventana.




