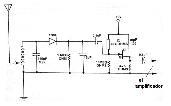
Este circuito puede funcionar tanto como un receptor de cristal o de galena con FET preamplificador excitando un auricular de alta impedancia o piezoeléctrico, como conectarse a la entrada de un amplificador, para funcionar como un sintonizador de AM. El FET puede ser el MPF102 o el BF245 y la bobina consiste en 100 espiras de hilo esmaltado 28 o 30 en un cable de escoba o tubo de PVC de 1 pulgada de 20 cm de longitud. El hilo se raspó para correr un cursor donde está conectada la antena. La variable se obtiene de una radio a válvula antigua. La alimentación viene de una batería de 9 V.




