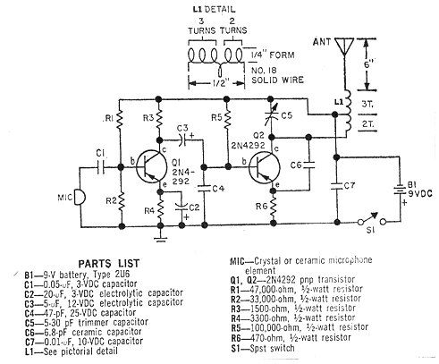
Este circuito fue indicado en un artículo de la revista americana Electronics Hobbyst del invierno de 1971. La revista ya no existe, pero el proyecto puede ser montado con la utilización de transistores equivalentes. Para Q1 podemos utilizar el BC558 y para Q2 el BC558 y si no oscilar cualquier PNP de RF. Los capacitores más pequeños deben ser cerámicos y la antena debe tener 15 cm o más. El micrófono es piezoeléctrico, pero se puede utilizar un electret con un resistor de 10k al positivo de la alimentación.




