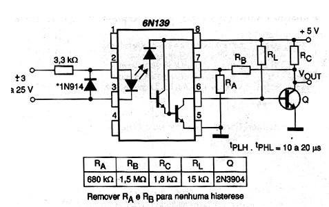
En la figura presentamos un circuito que tiene una tensión de aislamiento de 2 500 V en 60 Hz y rechazo en modo común elevado. La velocidad máxima para la transferencia de datos permitida para este circuito es de 40 kB / s co m cables cuya longitud pueden llegar hasta 1500 metros. Una característica de histéresis aumenta la inmunidad del circuito a ruidos. El transistor recomendado es el 2N3904 pero equivalentes de uso general se pueden utilizar.




