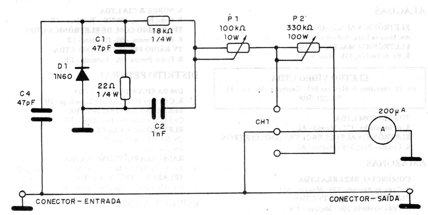
Este circuito sirve para medir la potencia de transmisores de 3 a 30 MHz con potencias de hasta 100 W. El circuito utiliza un indicador común que puede ajustarse con la ayuda de un transmisor de potencia conocido. El circuito es alimentado por la propia señal de RF del transmisor.




