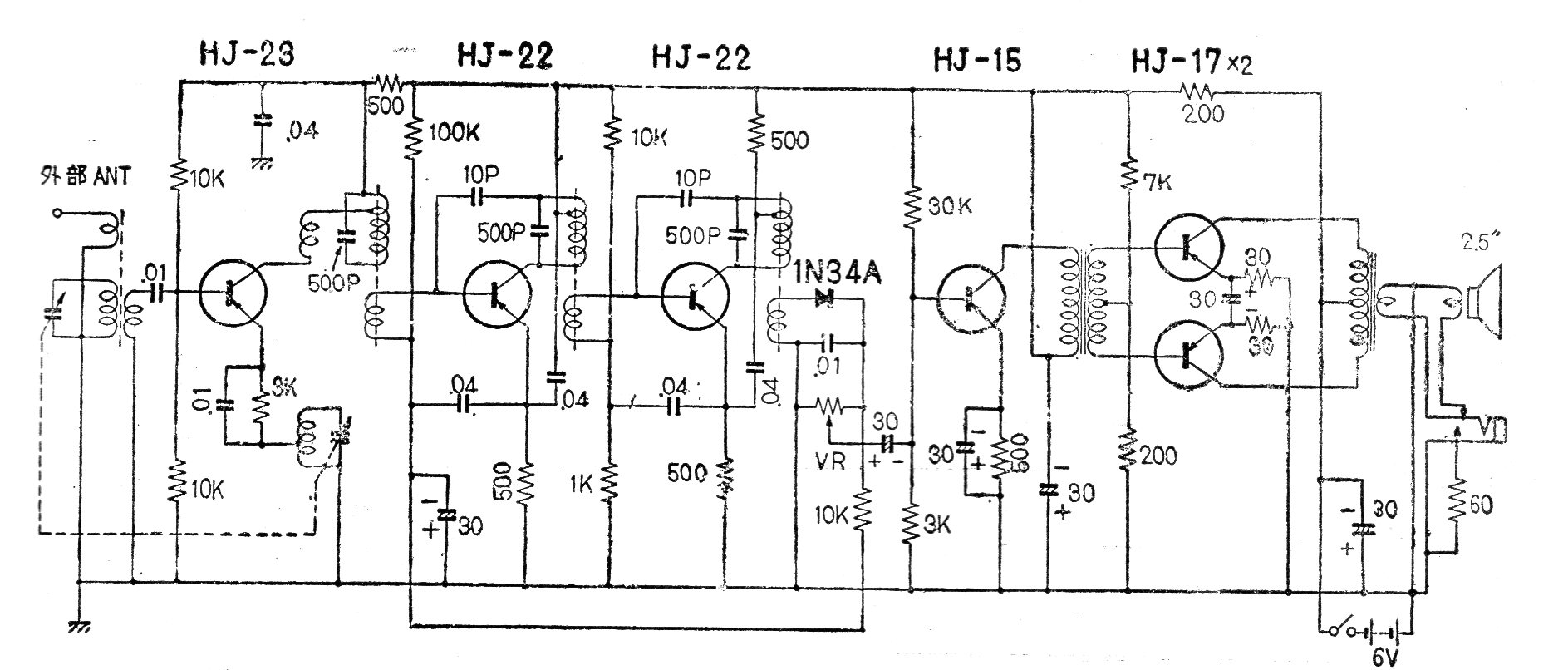
Este pequeño radio de ondas medias fue fabricado en los años 60 en Japón. El circuito es alimentado por 4 pilas y tiene una potencia de salida de 60 mW a 100 mW. El receptor es del tipo super-heterodino con buena selectividad y sensibilidad.
La frecuencia máxima de este oscilador, en el caso de 100 kHz, depende del funcionamiento utilizado. La...
Se trata de un interesante juguete que contiene varios potenciómetros y llaves posibilitando a los niños...
En realidad, se trata de un detector de señales que acusa la presencia de oscilaciones de altas...