Este diagrama forma parte de un artículo de una revista inglesa de junio de 1975. Este circuito puede ser utilizado como un transmisor telegráfico experimental de corto alcance. Consulte en CIR855 detalles de la bobina y de los componentes. La alimentación se puede hacer con tensiones de 4,5 a 9 V. El alcance será de unos metros, utilizando un radón común de ondas medias.

Oscilador AM Modulado (CIR1256S)
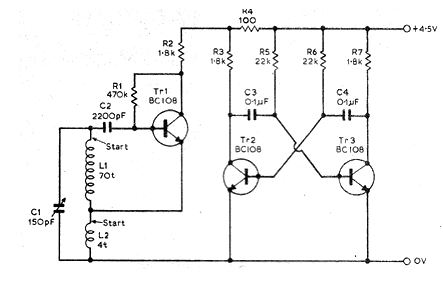
Este diagrama forma parte de un artículo de una revista inglesa de junio de 1975. Este circuito puede ser utilizado como un transmisor telegráfico experimental de corto alcance. Consulte en CIR855 detalles de la bobina y de los componentes. La alimentación se puede hacer con tensiones de 4,5 a 9 V. El alcance será de unos metros, utilizando un radón común de ondas medias.




