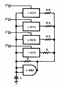
Los resistores R determinan las frecuencias del oscilador junto con C. El circuito es de una documentación de 1976. La tensión de alimentación puede variar entre 5 y 15 V y la frecuencia máxima es del orden de algunos megahertz, dependiendo de la tensión.




