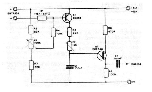
El circuito presentado en la figura utiliza un unijuntura y un transistor PNP de uso general BC558 que posee dos ajustes.El primer ajuste es el punto de funcionamiento, es decir, de la tensión en la que comienza a actuar el sistema (P1 = 100k). El segundo es el de los limites de frecuencia, dados por el potenciômetro de 10k. La banda de frecuencias de este circuito es de 500 Hz a 2 kHz, pudiendo cambiarse C1 según las necesidades. Las experiencias demuestran que, para la transmisión de datos via canal común de radio y la frecuencia máxima no debe superar los 5kHz en AM y eventualmente los 10kHz en FM /VHF.




