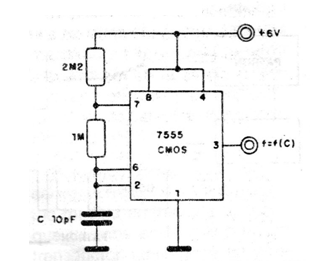
La figura 12 muestra un circuito interesante de transductor capacitivo. La frecuencia de salida de este circuito depende de la capacitancia presentada por el sensor. Una aplicación posible de este circuito es la de sensor de posición (dirección del viento o corriente de agua) y también como balanza electrónica de precisión.

Conversor Capacitância em Frecuência com el 555



