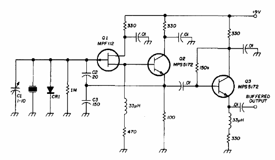
Este circuito fue encontrado en una documentación para radioaficionados de 1974. Puede ser usado para generar señales en el rango indicado, según el cristal. El FET puede ser el BF245 y los demás transistores 2N2222. La alimentación, en realidad, se puede hacer con tensiones de 9 a 12 V y el consumo es bajo.




