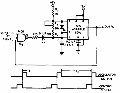
Este circuito produce señales controladas por una puerta externa, por ejemplo una salida de un Arduino u otro microcontrolador. La frecuencia depende de la señal de control y del oscilador según los tiempos indicados en el diagrama de tiempos. El ajuste de la frecuencia es hecho por el trimpot de 20k o 22k.




