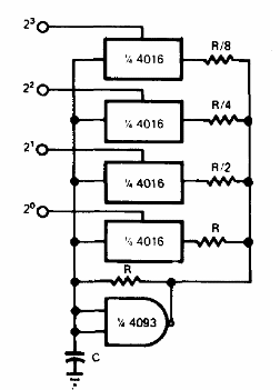
Este Shield puede usarse para generar una señal digital cuya frecuencia depende de R y C. Valores están dados por lo convertidor digital a analógico con el 4016 o equivalente. La señal generada es rectangular con un ciclo activo de aproximadamente el 50%. El circuito es de una documentación de 1976. La tensión de alimentación puede variar entre 3 y 15 V y el límite superior de frecuencia es del orden de unos pocos MHz, dependiendo de la tensión.




