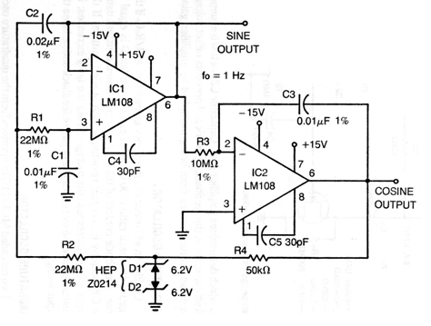
Este circuito, encontrado en una publicación de los años 70, produce una señal senoidal de 1 Hz. Los operacionales son pocos comunes actualmente, pero se pueden utilizar equivalentes más modernos como el 741. El circuito utiliza componentes de precisión en la determinación de la frecuencia, pero si no es necesario, se pueden utilizar componentes con tolerancias comunes. La fuente de alimentación debe ser simétrica.




