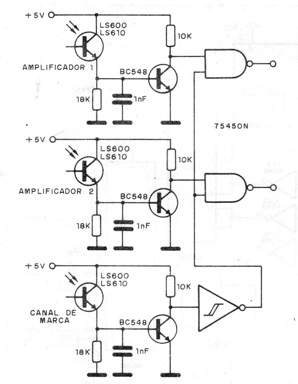
En este circuito, los transistores son NPN de uso general y los fototransistores pueden ser sustituidos por equivalentes. El circuito es sugerido por Texas Instruments para interfaz de circuitería TTL. La señal de estrobos viene a través del canal de marca.




