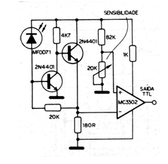
Los datos de una salida serial se pueden transferir a una entrada remota también serial a través de un enlace óptico a través de fibra óptica. En la figura 1 tenemos el transmisor, que utiliza un LED común o infrarrojo adaptado para este propósito o el MFOE1200 de Motorola que alcanza una frecuencia máxima de operación de 100 MHz en el rango infrarrojo y posee envoltura propia para acoplamiento en fibras ópticas. El receptor sugerido se muestra en la figura 2 y utiliza como base un foto-transistor, En especial sugerimos el MFOD71 de la Motoro! A que también posee envoltura propia para acoplamiento en fibra óptica y su sensibilidad es mayor, en torno a 8000 Angstroms. La longitud máxima de cable recomendado para este sensor es de 60 metros, con una corriente de excitación en el transmisor de 100 mA. Para un alcance mayor se puede utilizar como sensor el MFOD73, que admite cables de hasta más de 180 metros, ya que se trata de un Darlington. Un receptor TTL más elaborado para este foto-sensor se muestra en la figura 3. La velocidad máxima admitida para la recepción de datos es de 1 MHz.






