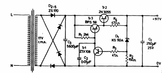
El circuito presentado es del manual de transistores de Ferranti de 1974. Sin embargo, los transistores equivalentes se pueden utilizar para los tipos menos comunes. Para el ZTX108 podemos usar el BC548 y para el BFS59 podemos emplear el BD135.

El circuito presentado es del manual de transistores de Ferranti de 1974. Sin embargo, los transistores equivalentes se pueden utilizar para los tipos menos comunes. Para el ZTX108 podemos usar el BC548 y para el BFS59 podemos emplear el BD135.
