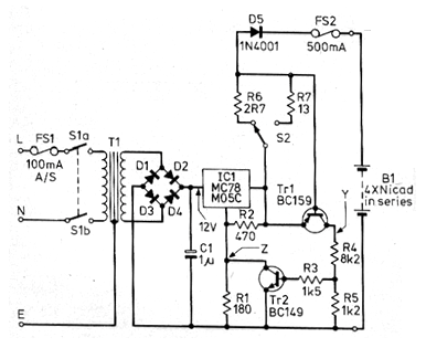
Este circuito apareció en una publicación inglesa de noviembre de 1982. La revista ya no existe, pero el circuito es viable pues todos los componentes son comunes. La revista es inglesa de ahí la simbología en la entrada del circuito es un poco diferente, pero podemos perfectamente cambiar el T1 original de 240 V x 50 Hz por un transformador normal de 110 V o 220 V para 9 a 12 V x 500 mA o más. El MC78M05 en realidad es un regulador común 7805 y el BC159 puede ser cambiado por un BD136, así como el BC149 por un BD135. El circuito puede cargar hasta 4 baterías de Nicad con corriente 250 mA. La selección se realiza por S2.




