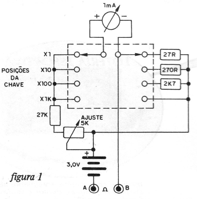
El montaje de un buen multímetro sólo encuentra un obstáculo: la precisión que se obtiene depende de la precisión de los componentes usados. Para los lectores que no tengan ningún instrumento en su banco y que estén empezando ahora, una tolerancia de 5% o 10%, que es la tolerancia de los resistores comúnmente encontrados en el comercio, puede ser aceptable. Si este es el caso del lector que no posee su propio instrumento de medición, ¿por qué no hacer este montaje? La llave selectora debe ser bipolar rotativa de 4 o más posiciones, siendo que sólo 4 posiciones serán utilizadas. Los resistores son todos de 1 / 2W y el potenciómetro de ajuste es sin llave. El instrumento utilizado es de bobina móvil de 0-1 mA (los lectores pueden experimentar también VU-meters comunes, con cambios en los valores de los componentes). La escala del instrumento se preparará como se muestra en la figura. La escala de corrientes va de 0 a 1 mA, mientras que la escala de resistencias va de 0 a 2k, pero en el sentido inverso. Para dibujar los puntos intermedios de la escala de resistencia, proceda del siguiente modo: Primero se coloca 0 en el lugar equivalente a 1 mA, y 2000 en el lugar equivalente a 0 mA. A continuación, coloque la llave selectora en la posición x1 ohmios, y apague el aparato, actuando sobre el ajuste. Utilizando resistores de valores entre 0 y 2000 ohms, conectados entre las puntas de prueba, con tolerancia de 596 o menos, vaya anotando sus valores en la escala. El autor aconseja utilizar resistores de 5, 10, 20, 30, 40, 50, 100, 200, 300, 500 y 1000 ohms, porque después de marcar estos valores, los demás pueden ser fácilmente deducidos.





