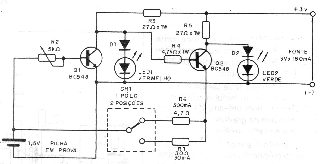
Este simple probador de pilas utiliza dos transistores para accionar LED de diferentes colores, indicando el estado de las pilas comunes tipo AA, C o D. El circuito es alimentado por fuente externa y realiza la prueba bajo carga. Encontramos este circuito en una documentación antigua.




