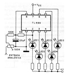
Este circuito acciona 5 LED de acuerdo con el nivel de la señal analógica de entrada, pudiendo ser utilizado con diversas finalidades, dependiendo sólo del tipo de transductor o fuente analógica de entrada.

Este circuito acciona 5 LED de acuerdo con el nivel de la señal analógica de entrada, pudiendo ser utilizado con diversas finalidades, dependiendo sólo del tipo de transductor o fuente analógica de entrada.
