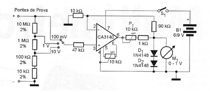
El circuito de la figura permite implementar un multímetro de alta sensibilidad o incluso usar un multímetro común obteniéndose características de alta sensibilidad. La selección de las pistas es hecha por la llave y tiene fondos de 100 mV, 1 V y 10 V. El fondo de escala es determinado por el resistor R1 junto con R6. Esta ganancia se puede cambiar si el lector desea modificar las escalas del instrumento. El instrumento indicador es un voltímetro con 1 V de fondo de escala, o un multímetro ajustado para esa escala. La sensibilidad del circuito es de 1 M ohms / V. La alimentación es hecha por una batería de 9 V y como el consumo es extremadamente bajo, su durabilidad será muy grande.




