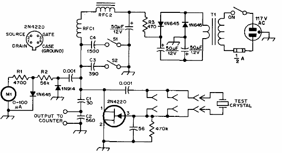
Encontramos este probador de cristales de 50 kHz 25 MHz en una revista QST de 1978. El FET puede ser el BF245 y el indicador puede ser la escala más baja de corrientes de un multímetro común. El transformador es de 6 V x 300 mA o más y los inductores de 100 mH o más.




