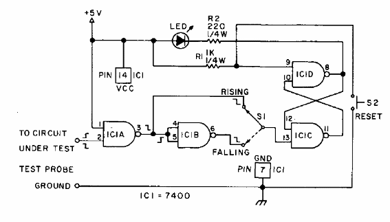
Encontramos este probador de niveles lógicos en una documentación de 1976. El circuito es alimentado por la propia tensión del circuito en prueba. El tiempo de respuesta es de aproximadamente 30 ns.

Encontramos este probador de niveles lógicos en una documentación de 1976. El circuito es alimentado por la propia tensión del circuito en prueba. El tiempo de respuesta es de aproximadamente 30 ns.
