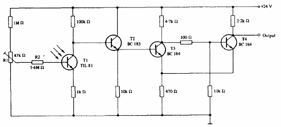
La corriente del disparador óptico Schmitt de la figura en la oscuridad es muy baja. Los transistores pueden ser el BC548 y el ajuste en la oscuridad se hace en el trimpot. Tenga en cuenta la tensión de salida de este circuito. Un divisor resistivo debe agregarse para obtener la tensión de excitación de las entradas de un Arduino u otro microcontrolador. El circuito es de un manual de la opto-electrónica de Texas Instruments.




