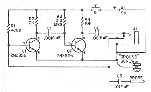
Este circuito fue indicado en el artículo de la revista americana Electronics Hobbyst del invierno de 1971. La revista ya no existe, pero el proyecto puede ser montado con facilidad, pues los componentes son comunes, sólo cambiando los transistores por los BC548. El circuito también puede ser alimentado por 4 pilas (6 V) con los transistores BC.




