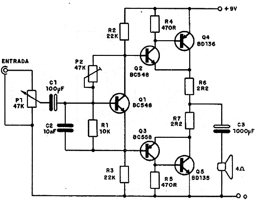
Este excelente amplificador transistorizado proporciona una potencia de 2 a 4 W de de salida con9 V, que debe ser suministrada por una fuente de al menos 500 mA. P2 debe ajustarse a una corriente de reposo (sin señal) de 50 mA. P1 es el control de volumen. Los transistores BD135 y BD136 deben montarse en radiadores de calor. El amplificador ofrece excelente ganancia y calidad de sonido y puede ser utilizado en miembros de efectos de sonido.




