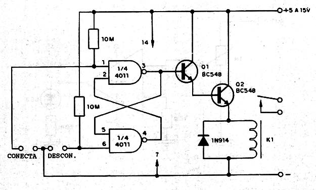
Se usa la mitad de un circuito integrado 4011 en este interruptor de toque de dos posiciones. Al tocarse los contactos "con." el relé se acciona y permanece así hasta que toquen los contactos "descon.". EI relé es del tipo sensible de 6V x 50 mA o 12V x 50 mA según sea la tensión, de 6 o 12v. Para otras tensiones deben usarse los relés adecuados.

Llave de Toque con el 4011



