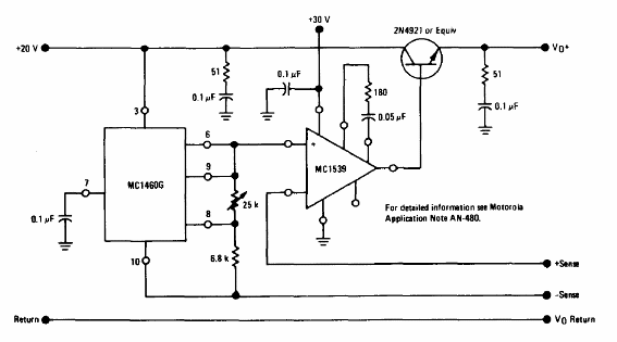
Este circuito es de una documentación sobre el MC1539 de Motorola, pudiendo, sin embargo, ser implementado con operacionales equivalentes. El transistor también admite el equivalente.

Este circuito es de una documentación sobre el MC1539 de Motorola, pudiendo, sin embargo, ser implementado con operacionales equivalentes. El transistor también admite el equivalente.
