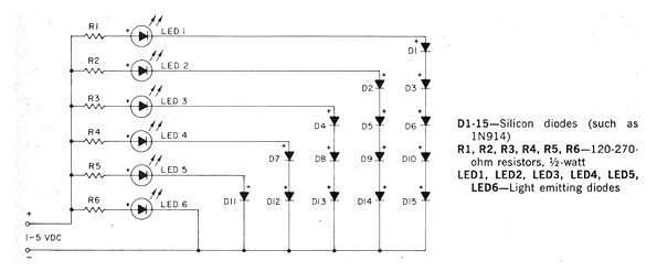
Publicado en 101 Electronics Projects de 1976 este circuito es bastante simple, ya que no utiliza ni transistores ni circuitos integrados. El nivel de encendido de cada LED viene dado por el número de diodos en serie. Para los 6 LED la tensión de encendido estará típicamente entre 1,6 y 5 V en toda la escala. Se puede ampliar con nuevos LED. La corriente en los LED es dada por los resistores y los diodos admiten equivalentes.




