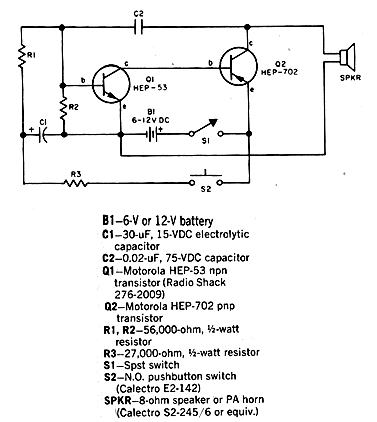
Presionando y manteniendo S2 presionado, el circuito emite un sonido de frecuencia creciente. Cuando suelta S2 la frecuencia del sonido disminuye hasta que deja de oscilar. C1 y C2 determinan las características de frecuencia del circuito. El circuito, originalmente sugerido por 101 Electronics Projects de 1979 es viable si cambiamos Q1 por un BC547 y Q2 por un DB136 o TIP32 dotado de radiador de calor. El altavoz debe tener al menos 10 cm y de 4 a 8 ohmios de impedancia.




