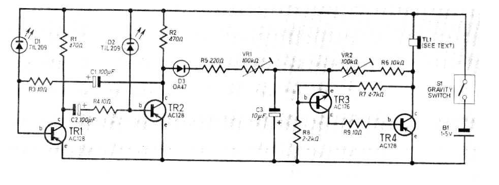
Este circuito fue publicado en la revista inglesa de 1977 y es totalmente viable en nuestros días, bastando intercambiar los transistores por los equivalentes más modernos. Si bien los tipos de germanio en el original, los de silicio como los BC548 para NPN y BC558 para PNP deben funcionar, pudiendo eventualmente ser necesario sólo el cambio de uno u otro resistor. El auricular que sirve de transductor es de 100 a 200 ohms, pero un pequeño altavoz de 8 ohmios en serie con un resistor de 47 ohms debe funcionar. El circuito se cierra en un bote de cristal para poder sumergirse en agua. Observe que el accionamiento es hecho por un reed switch dentro del bote, del lado interno de la tapa. Un pequeño imán atado a la tapa conecta el aparato.




