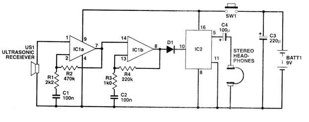
Con este aparato, los ultrasonidos captados por un micrófono apropiado se convierten en sonidos y oídos en un auricular cerámico o de cristal. Los amplificadores operacionales pueden ser 741 o LM381 mientras que el CMOS es un 4040. El circuito es alimentado por una batería de 9 V que se ha encontrado en una documentación de 1992.




