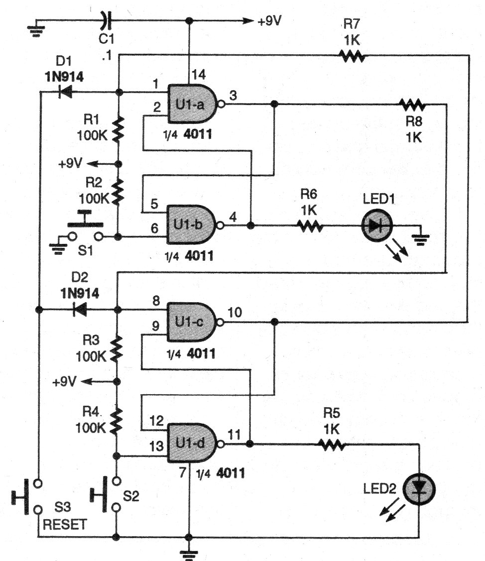
Este circuito de llave de precedencia o juego de la velocidad para dos competidores fue encontrado en una publicación americana de 1998, pero puede ser implementado con facilidad aún hoy. El circuito es rearmado por S3 y puede ser alimentado por tensiones de 6 a 12 V.




