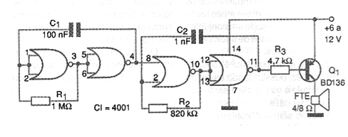
Una sirena modulada (intermitente), usando las cuatro puertas del circuito integrado 4001 se muestra en la figura. La etapa de potencia puede utilizar un solo transistor, como en el caso del circuito anterior, o aún un circuito de mayor potencia, como el que ya mostramos en el CIR3243S. Las frecuencias de modulación y de tono pueden ser alteradas, modificando tanto los resistores como los condensadores correspondientes. El BD136 debe montarse en un disipador de calor.




