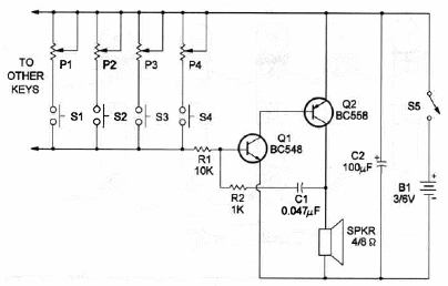
Las notas musicales producidas por este circuito se ajustan independientemente en cada trimpot. El número de ellos puede tener un máximo de alrededor de 15. El circuito puede también funcionar con 9 o 12 V cambiando Q2 por un BD136. El circuito es monofónico, lo que quiere decir que dos teclas no se deben apretar al mismo tiempo. El circuito es del libro Fun Projects for the Experimenter de Newton C. Braga.




