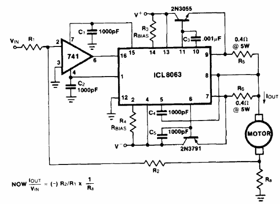
El circuito integrado en esta aplicación para motores de 6 V no es muy común actualmente. El circuito es del Intersil Databook de 1983. Los transistores admite equivalente. La fórmula junto al diagrama permite calcular los valores de los componentes principales.




