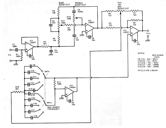
Este circuito fue publicado en una revista europea de 1980. Se trata de un ecualizador de audio que posee una red de realimentación que determina el rango de frecuencias ecualizado seleccionado por una llave de 5 posiciones. Los valores ecualizados se muestran en la tabla al lado. El circuito se puede repetir para diversos canales de ecualización. El amplificador operacional puede ser cambiado por equivalentes, que deben tener una fuente de alimentación simétrica.




