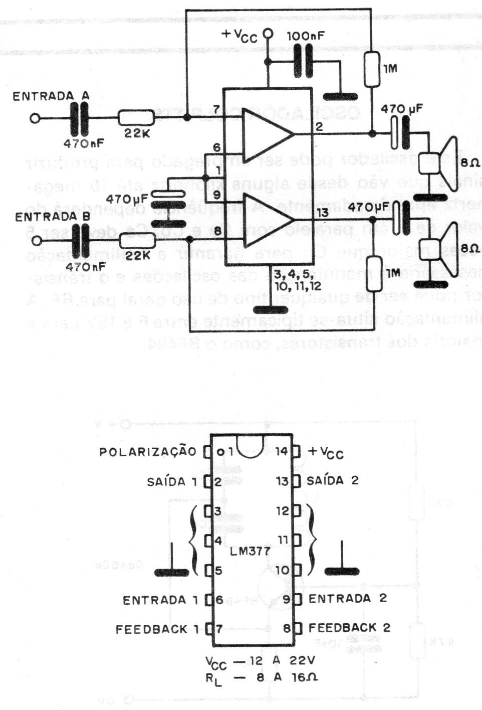
Con 12 V de alimentación y 8 ohmios en cada altavoz tenemos 1,6 W de potencia por canal. Con alimentación de 22 V y carga de 8 ohmios tenemos 4,6 W por canal, siendo este el límite de ese pequeño amplificador que sirve de base para sistemas económicos de audio u otras aplicaciones en las que se requiere alta fidelidad y pequeña potencia. Los resistores de 1M son responsables de la ganancia del circuito, realimentando la entrada (a través de los pines 7 y 8) con una parte de la señal de salida.




