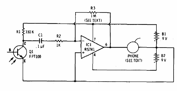
Encontramos este circuito en una documentación de Radio Shack de 1977. El circuito sirve para un enlace de luz modulada en amplitud por una señal de audio con reproducción en un auricular de baja impedancia. El circuito debe ser alimentado por una fuente simétrica de 6 o 9 V. Cambiando el auricular por un resistor de 470 ohms, la señal se puede retirar para su aplicación en un amplificador externo.




