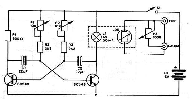
La profundidad del efecto es controlada en P3 y la frecuencia tanto en P1 como P2. El LDR debe ser montado en un tubo opaco, juntamente con L1 que es una lámpara de 6V, para en el máximo 50 mA como la 7121 D. Los cables de entrada y de salida deben ser blindados. (Se pueden usar LEDs en serie con um resistor de 220 Ω para L1)

Fotovibrato



