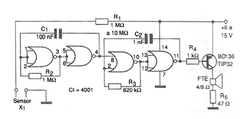
Esta aplicación consiste en un circuito que se dispara cuando la resistencia del sensor cae a valores por debajo de algunos megohms. Este valor es determinado por la resistencia R1, en el circuito de la figura. Cuando el circuito se dispara, produce un tono intermitente, generado por un oscilador como el del circuito anterior (CIR3242S). Para utilizar como alarma de agua (nivel de agua o inundación), el sensor consta de dos hilos con las puntas peladas, Su contacto con el agua o la humedad hace que la alarma dispare. Para utilizar como sensor de toque, el sensor consta de dos planchas de metal que se deben tocar simultáneamente. Una posibilidad consiste en aterrizar el negativo de la fuente y usar sólo una placa como sensor de tacto. En este caso, el hilo hasta el sensor no debe sobrepasar 1 metros, para que los ruidos captados no provoquen el disparo errático.




